一、概述
水泥膠砂流動度測定儀(又稱跳桌)由中國建筑材料科學研究院與參研制,用于2005年發布的新標準GBT2419—2005《水泥膠砂流動度測定方法》的流動度試驗,是該標準唯一指定用儀器。本設備主要用于水泥膠砂流動度試驗,產品符合“GB/T2419—2005水泥膠砂流動度測定方法”的標準要求。主要用于測定火山灰質硅酸鹽水泥,砌筑水泥的膠砂流動數值,以確定水泥膠砂標準稠度之用水量,是大中院校、建材、建工、道路交通、實驗室只要測試設備。
二、主要技術參數
1、振動部分總重量:4.35Kg±0.15Kg
2、振動部分落差:10mm±0.2mm
3、振動頻率:1次/1s
4、振動次數:25次
5、圓盤桌面直徑:Φ300±1 mm
6、圓盤桌面材料:鑄鋼,工作面鍍硬鉻
7、截錐圓模高度:60±0.5mm
8、截錐圓模上口內徑:70±0.5mm
9、截錐圓模下口內徑:100±0.5mm
10、截錐圓模下口外徑:120mm
11、搗棒直徑為20±0.5mm,長度約200mm
12、凈重(含附件):20Kg
三、安裝調試
本儀器必須可靠接地。儀器用膨脹螺栓固定在基座上。儀器基座由混凝土澆筑而成(或磚混基礎),底面尺寸約為400mm×400mm,高約690mm。在基座和儀器機架之間宜填墊圈(見圖3基礎安裝圖),可通過調整墊圈高度調節桌面水平。儀器安裝后,其桌面沿彼此成直角的兩個直徑方向測量時均應成水平。跳桌安裝好后,采用流動度標準樣(JBW01-1-1)進行檢定,測得的流動度值如與給定的標樣流動度值相差在規定范圍內, 則該跳桌的安裝及使用性能合格。
四、使用方法
試樣的制作與填裝方法按GB2419-2005和GB17671-1999的有關規定,也可參照本說明書附錄。注:使用前,請用檢規檢查落距。
1、將插頭接入計數器后對應孔內,將計數器接通電源。如跳桌在24小時內未被使用,先空跳一個周期25次。
2、一次試驗應稱取的材料及數量:水泥300克,標準砂:750克,水:按預定水灰比計算。膠砂的制成按GBG17671有關規定進行。
3、將拌好的水泥膠砂分兩層迅速裝入模內,第一層裝至截錐圓高約三分之二處,用小刀在相互垂直兩個方向劃實5次,再用搗棒自邊緣至中心均勻搗實15次。接著裝第二層膠砂,裝至高出截錐圓模約20mm,同樣用小刀在相互垂直兩個方向劃實5次,再用搗棒自邊緣至中心均勻搗實10次。搗壓深度第一層搗至膠砂高度的二分之一,第二層搗至不超過已搗實的底層表面。搗棒搗壓順序按GBT2419-2005《水泥膠砂流動度測定方法》中6.3條的規定。
(裝水泥膠砂搗實時用手將截圓錐模扶持住不動)
4、搗壓完畢,取下模套,將小刀傾斜,從中間向邊緣分兩次近似水平的角度抹去高出截錐圓模的膠砂,并擦去落在桌面上的膠砂。刮平后將截錐圓模垂直向上輕輕提起移去。立即按計數器的“啟動”按鈕,完成一個周期25次跳動。
5、跳動完畢,用量程300mm分度值0.02mm的游標卡尺測量膠砂底面互相垂直的兩個方向擴展直徑,計算平均值,取整數,用mm單位表示。該平均值即為水泥膠砂流動度值。
6、從膠砂加水開始到直徑測量結束,試驗應在6min內完成。
五、安裝方法
儀器應安裝在高度不低于300mm的實心混凝土基座上,基座上預先放置三個M10螺栓,其距離與跳桌底三個距離相同。安裝時應在基座上墊砂漿,并用螺母固緊,調整跳桌呈水平。
六、維護與保養
使用完畢后,應擦凈儀器,清除儀器周圍殘留膠砂,用輕油稍稍潤滑推桿、桌面和凸輪表面。長期不用,儀器應防塵保護,控制器放置在包裝盒內。
如儀器不計數,請檢查接近開關是否松動、與凸輪間隙是否為1mm~2mm,如有偏離或松動,請調整間隙后緊固。



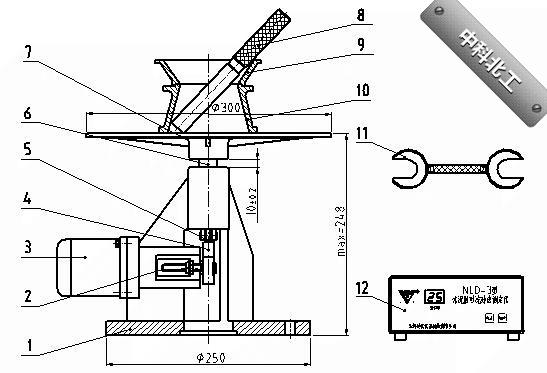
圖1 結構簡圖
1、機架 2、接近開關 3、電動機 4、凸輪 5、軸承 6、推桿 7、圓盤桌面 8、搗棒 9、模套 10、截椎圓模 11、檢規 12、控制器
圖3 基礎安裝圖








